电池装车顶 福特申报汽车充电宝专利
2023-06-13 11:06:50近日,福特汽车在美国专利和商标局递交了一项电动汽车外置电池的专利 南瓜影院,给电动汽车增添额外的电量,能说是个大号的汽车充电宝。

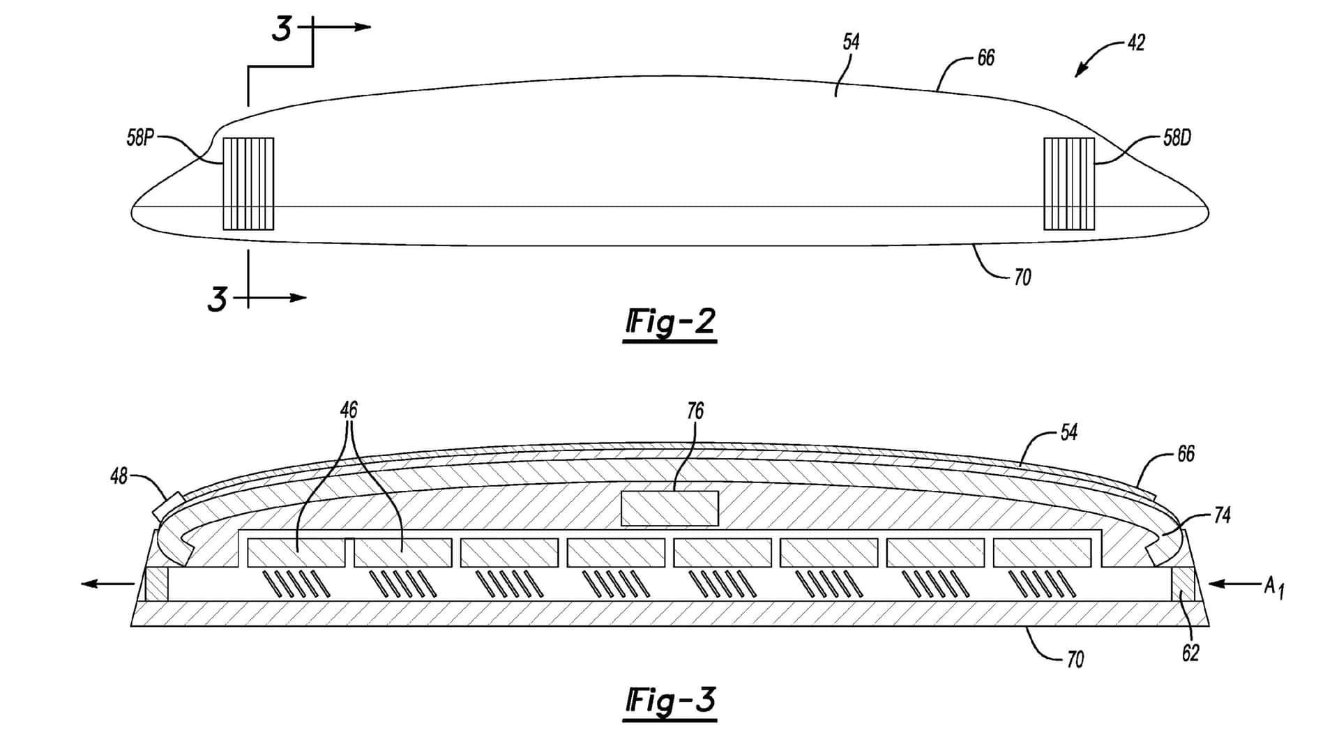
该专利文件表明,这款可供使用电池能由车主另行加装和拆除 南瓜影院在线观看,具备很大的灵活性,电芯被加装在一种类型于车顶旅行箱的外壳中,那个外壳由一种盖子与内衬泡沫的纸盒共同组成,外壳两边存有空气地下通道,用来加热电池,除此之外还具备防尘,保温,密封的特点。

那块电池具备两条振动线,能插在汽车电池口上为汽车电池,除此之外 南瓜影视资源,它还涵盖有一种掌控模块,能与车辆的通信模块展开无线连接,便利车主在车内对电池展开有关掌控。
但问题来了 南瓜高清播放,动力电池是较为重的,用户他们加装/拆除可能将是一种问题,除此之外把太几块电池装在车顶,车辆的战略重点提升,可能将会增添额外的风险。









