橡胶混炼过程中使用隔离剂与不使用隔离剂对胶料的影响 (南瓜影院免费观看)
2025-03-04 14:03:55
橡胶混炼是橡胶制品生产的关键环节 南瓜影院,涵盖原材料均匀分散,塑炼,混炼及熟化等步骤,在混炼过程中,胶料的存放与处理方式对最终产品的性能,加工性能和生产效率至关重要,其中,是否使用隔离剂是一个关键因素,它直接影响胶料的储存稳定性,加工流动性,硫化特性及最终制品的性能,本文将深入探讨使用隔离剂和不使用隔离剂对胶料的影响,从理论和实践角度分析其机理及应用场景,橡胶硅胶材料特种密封。
一、隔离剂的作用与种类
隔离剂是一类用于防止胶料粘连,改善加工性能的添加剂,通常由无机粉末(如滑石粉,碳酸钙,二氧化硅等)或有机成分(如聚乙烯醇,皂类等)组成,其主要作用如下: 南瓜影院在线观看。
防止胶料粘连:降低胶料表面的粘附性,避免胶料因静置或堆放时自粘结块,橡胶密封圈 硬度 南瓜影视资源。
提高操作性:减少胶料之间的摩擦,提高混炼,压延 南瓜高清播放,挤出等工序的顺畅性。
改善后续加工:避免胶料在储存或加工过程中因过度黏附导致的形变或质量问题。
根据使用方式,隔离剂可分为:
干式隔离剂:主要为粉状,如滑石粉,碳酸钙,二氧化硅等,广泛用于天然橡胶(NR),合 在线电影院.
成橡胶(如SBR 南瓜影院,NBR)的混炼胶,新能源pack橡胶密封圈。
湿式隔离剂:以水溶液或乳液形式存在,如皂类溶液,聚乙烯醇溶液等 南瓜影院在线观看,常用于EPDM,丁基橡胶(IIR)等极性较低的橡胶体系,新能源电池橡胶密封级别。
根据成分,隔离剂可以分为:
硬脂酸盐类(如硬脂酸锌,硬脂酸钙)通过金属离子配位形成晶格结构,橡胶园垫圈 南瓜影视资源。
滑石粉(Talc)依靠层状硅酸盐的二维片层结构实现表面覆盖。
硅油类(如聚二甲基硅氧烷)形成低表面能(约20mN/m)的连续膜层,密封橡胶硅胶材料配方 南瓜影院免费观看。
二、使用隔离剂对胶料的影响
(一)对胶料储存稳定性的影响
减少粘连,提高存储质量
使用隔离剂的胶料在储存时不易粘结成块 在线电影院,尤其在高温高湿环境下,防止了因橡胶分子链段的部分流动而导致的粘连,特别是在采用自动化储存,长时间堆放或卷料形式存放时,隔离剂可以有效防止胶料变形和粘附。
防止氧化、吸湿及污染
某些隔离剂(如含防老剂成分的涂层隔离剂)能够在胶料表面形成保护层,减缓氧化作用,提高胶料的储存稳定性 南瓜影院,此外,干式粉状隔离剂可减少空气中水分的吸附,避免胶料因吸湿导致配方成分析出或变性,新能源产业橡胶硅胶配件名称。
(二)对混炼工艺的影响
提高胶料均匀性
隔离剂的存在有助于防止胶料团聚 南瓜影院在线观看,使得后续加工时的剪切力更均匀,避免混炼过程中因局部胶料过度剪切而导致的塑性不均。
改善混炼胶的流动性
在密炼或开炼过程中,过粘的胶料可能影响混炼均匀性,使用隔离剂后 南瓜影视资源,胶料的摩擦系数降低,有助于胶料均匀分布在混炼机内,提高填料,助剂的分散效率。
(三)对硫化特性的影响
对硫化速率的影响
某些隔离剂可能对硫化体系产生轻微影响,例如滑石粉含有的微量金属离子可能影响硫化反应,因此,在选择隔离剂时需考虑其化学稳定性 南瓜高清播放,以避免对硫化曲线的改变。
影响界面结合力
如果隔离剂未完全去除 南瓜影院免费观看,可能在胶料界面上残留,影响橡胶层间的结合力,例如,在多层共硫化的情况下,隔离剂的残留会降低层间粘合强度,因此在层压成型前通常需要清洗或去除隔离剂,专业定做新能源产业橡胶硅胶配件厂家。
(四)对最终制品性能的影响
力学性能
过量使用隔离剂可能影响胶料内部填料的分散,导致制品的力学性能下降,如拉伸强度 在线电影院,撕裂强度和耐磨性等,因此,隔离剂的使用量需要合理控制,避免过多掺入胶料中。
耐老化性能
某些隔离剂(如滑石粉)具有良好的耐热,耐氧化性能,可以在一定程度上提高制品的耐老化性,但如果隔离剂中的杂质较多,可能会催化橡胶的降解,加速老化过程,汽车橡胶硅胶配件批发厂家 南瓜影院。
三、不使用隔离剂对胶料的影响
(一)胶料粘连问题
当不使用隔离剂时,胶料在储存过程中容易发生自粘,特别是在高温或高湿环境下,橡胶分子链的轻微流动会导致表面黏附 南瓜影院在线观看,使胶料难以分离,对于需要长时间存放或需要自动化投料的场景,这可能会影响生产效率。
(二)影响混炼均匀性
无隔离剂的胶料在混炼过程中可能出现局部团聚,尤其是含高填充量的配方 南瓜影视资源,容易导致混炼不均,影响胶料的分散性和后续加工的稳定性。
(三)提高界面结合强度
不使用隔离剂可以避免界面污染,提高橡胶层间的结合力,特别是在多层橡胶制品(如轮胎,胶管 南瓜高清播放,胶带)生产中,能够确保胶料间的粘接性。
(四)降低杂质引入的风险
隔离剂可能引入外部杂质(如金属离子、硫化促进剂的不兼容成分),而不使用隔离剂可以减少这些不确定因素,提高胶料的纯度和稳定性,尤其适用于高性能橡胶制品(如航空、医疗级橡胶制品)。橡胶垫圈天平
四、选择与优化策略
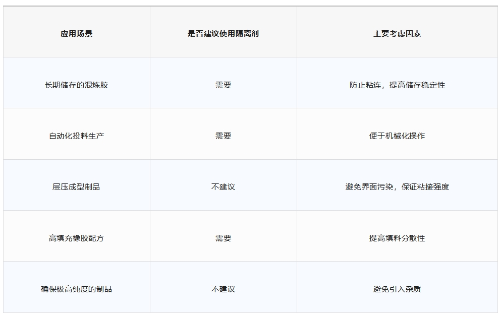
(一)适用场景
根据具体工艺需求和制品要求,选择合适的隔离剂类型和使用方法,以确保产品质量的稳定性和一致性。

(二)处理策略
减少隔离剂用量:仅在必要时使用,并确保用量适中,避免影响胶料性能。食用型密封橡胶硅胶材料价格
选择适当的隔离剂类型:如水溶性隔离剂更易清洗,适用于需要高界面结合强度的场合。密封用的橡胶硅胶材料
优化胶料配方:调整塑性、配方组分,使胶料在无需隔离剂的情况下仍能保持良好的加工性能。
隔离剂的使用对橡胶混炼胶的储存、加工、硫化及最终制品性能具有重要影响。合理使用隔离剂可以提高生产效率,但过量或不当使用可能会影响胶料的均匀性和最终性能。在实际应用中,应根据具体工艺需求和制品要求,选择合适的隔离剂类型和使用方法,以确保产品质量的稳定性和一致性。密封用橡胶硅胶材料介绍
特别声明:内容来源 橡胶网 仅供参考,以传递更多信息而不是盈利。版权属于原作者。如有侵权,请联系删除。









